共计 4365 个字符,预计需要花费 11 分钟才能阅读完成。
跳跃表
跳跃表 (skiplist) 是一种有序数据结构,它通过在每个节点中维持多个指向其他节点的指针,从而达到快速访问节点的目的。
跳跃表支持平均 O(logN)、最坏 O(N)复杂度的节点查找,还可以通过顺序性操作来批量处理节点。
在大部分情况下,跳跃表的效率可以和平衡树相媲美,并且因为跳跃表的实现比平衡树要来得更为简单,所以有不少程序都使用跳跃表来代替平衡树。
Redis 使用跳跃表作为有序集合键的底层实现之一,如果一个有序集合包含的元素数量比较多,又或者有序集合中元素的成员 (member) 是比较长的字符串时,Redis 就会使用跳跃表来作为有序集合键的底层实现。
和链表、字典等数据结构被广泛地应用在 Redis 内部不同,Redis 只在两个地方用到了跳跃表,一个是实现有序集合键,另一个是在集群节点中用作内部数据结构,除此之外,跳跃表在 Redis 里面没有其他用途。
跳跃表的实现
Redis 的跳跃表由 redis.h/zskiplistNode 和 redis.h/zskiplist 两个结构定义,其中 zskiplistNode 结构用于表示跳跃表节点,而 zskiplist 结构则用于保存跳跃表节点的相关信息,比如节点的数量,以及指向表头节点和表尾节点的指针等等。

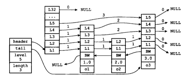
上图展示了一个跳跃表示例,位于图片最左边的是 zskiplist 结构,该结构包含以下属性:
- header:指向跳跃表的表头节点
- tail:指向跳跃表的表尾节点
- level:记录目前跳跃表内,层数最大的那个节点的层数(表头节点的层数不计算在内)
- length:记录跳跃表的长度,也即是,跳跃表目前包含节点的数量(表头节点不计算在内)
位于 zskiplist 结构右方的是四个 zskiplistNode 结构,该结构包含以下属性:
- 层(level):节点中用 L1、L2、L3 等字样标记节点的各个层,L1 代表第一层,L2 代表第二层,依次类推。每个层都带有两个属性:前进指针和跨度。前进指针用于访问位于表尾方向的其他节点,而跨度则记录了前进指针所指向节点和当前节点的距离。在上面的图片中,连线上带有数字的箭头就代表前进指针,而那个数字就是跨度。当程序从表头向表尾进行遍历时,访问会沿着层的前进指针进行。
- 后退 (backward) 指针:节点中用 BW 字样标记节点的后退指针,它指向位于当前节点的前一个节点。后退指针在程序从表尾向表头遍历时使用。
- 分值(score):各个节点中的 1.0、2.0 和 3.0 是节点所保存的分值。在跳跃表中,节点按各自所保存的分值从小到大排列。
- 成员对象(obj):各个节点中的 o1、o2 和 o3 是节点所保存的成员对象。
注意表头节点和其他节点的构造是一样的:表头节点也有后退指针、分值和成员对象,不过表头节点的这些属性都不会被用到,所以图中省略了这些部分,只显示了表头节点的各个层。
跳跃表节点
跳跃表节点的实现由 redis.h/zskiplistNode 结构定义:
/* ZSETs use a specialized version of Skiplists */
typedef struct zskiplistNode {robj *obj; /* 成员对象 */
double score; /* 分值 */
struct zskiplistNode *backward; /* 后退指针 */
struct zskiplistLevel {/* 层 */
struct zskiplistNode *forward; /* 前进指针 */
unsigned int span; /* 跨度 */
} level[];} zskiplistNode;
1、分值和成员
节点的分值 (score 属性) 是一个 double 类型的浮点数,跳跃表中的所有节点都按分值从小到大来排序。
节点的成员对象 (obj 属性) 是一个指针,它指向一个字符串对象,而字符串对象则保存着一个 SDS 值。
在同一个跳跃表中,各个节点保存的成员对象必须是唯一的,但是多个节点保存的分值却可以是相同的:分至相同的节点将按照成员对象在字典中的大小来进行排序,成员对象较小的节点会排在前面(靠近表头的方向),而成员对象较大的节点则会排在后面(靠近表尾的方向)。
举个例子,在下图中所示的跳跃表中,三个跳跃表节点都保存了相同的分值 10086.0,但保存成员对象 o1 的节点却排在保存成员对象 o2 和 o3 的节点的前面,而保存成员对象 o2 的节点又排在保存成员对象 o3 的节点之前,由此可见,o1、o2、o3 三个成员对象在字典中的排序为 o1<=o2<=o3。

2、后退指针
节点的后退指针 (backward 属性) 用于从表尾向表头方向访问节点:跟可以一次跳过多个节点的前进指针不同,因为每个节点只有一个后退指针,所以每次只能后退至前一个节点。
下图用虚线展示了如何从表尾向表头遍历跳跃表中的所有节点:程序首先通过跳跃表的 tail 指针访问表尾节点,然后通过后退指针访问倒数第二个节点,之后再沿着后退指针访问倒数第三个节点,再之后遇到指向 NULL 的后退指针,于是访问结束。

3、层
跳跃表节点的 level 数组可以包含多个元素,每个元素都包含一个指向其他节点的指针,程序可以通过这些层来加快访问其他节点的速度,一般来说,层的数量越多,访问其他节点的速度就越快。
每次创建一个新跳跃表节点的时候,程序根据幂次定律 (power law,越大的数出现的概率越小) 随机生成一个介于 1 和 32 之间的值作为 level 数组的大小,这个大小就是层的“高度”。
下图分别展示了三个高度为 1 层、3 层和 5 层的节点,因为 C 语言的数组索引总是从 0 开始的,所以节点的第一层是 level[0],而第二层是 level[1],依次类推。

4、前进指针
每个层都有一个指向表尾方向的前进指针(level[i].forward 属性),用于从表头向表尾方向访问节点。下图用虚线表示出了程序从表头向表尾方向,遍历跳跃表中所有节点的路径:

1) 迭代程序首先访问跳跃表的第一个节点(表头),然后从第四层的前进指针移动到表中的第二个节点。
2) 在第二个节点时,程序沿着第二层的前进指针移动到表中的第三个节点。
3) 在第三个节点时,程序同样沿着第二层的前进指针移动到表中的第四个节点。
4) 当程序再次沿着第四个节点的前进指针移动时,它碰到一个 NULL,程序知道这时已经到达了跳跃表的表尾,于是结束这次遍历。
5、跨度
层的跨度 (level[i].span 属性) 用于记录两个节点之间的距离:
- 两个节点之间的跨度越大,它们相距得就越远。
- 指向 NULL 的所有前进指针的跨度都为 0,因为它们没有连向任何节点。
初看上去,很容易以为跨度和遍历操作有关,但实际上并不是这样的,遍历操作只使用前进指针就可以完成了,跨度实际上是用来计算排位 (rank) 的:在查找某个节点的过程中,将沿途访问过的所有层的跨度累计起来,得到的结果就是目标节点在跳跃表中的排位。
举个例子,下图用虚线标记了在跳跃表中查找分值为 3.0、成员对象为 o3 的节点时,沿途经历的层:查找的过程只经过了一个层,并且层的跨度为 3,所以目标节点在跳跃表中的排位为 3。

再举个例子,下图用虚线标记了在跳跃表中查找分值为 2.0、成员对象为 o2 的节点时,沿途经历的层:在查找节点的过程中,程序经过了两个跨度为 1 的节点,因此可以计算出,目标节点在跳跃表中的排位为 2。

跳跃表
仅靠多个跳跃表节点就可以组成一个跳跃表,如下图所示:

但通过使用一个 zskiplist 结构来持有这些节点,程序可以更方便地对整个跳跃表进行处理,比如快速访问跳跃表的表头节点和表尾节点,或者快速地获取跳跃表节点的数量 (也即是跳跃表的长度) 等信息,如下图所示:

zskiplist 结构的定义如下:
typedef struct zskiplist {struct zskiplistNode *header, *tail; //header 指向跳跃表的表头节点,tail 指向跳跃表的表尾节点
unsigned long length; // 记录跳跃表的长度,也即是,跳跃表目前包含节点的数量(表头节点不计算在内)
int level; // 记录目前跳跃表内,层数最大的那个节点的层数(表头节点的层数不计算在内)
} zskiplist;
这样获取表头、表尾节点,表长,以及表中最高层数的复杂度均为 O(1)。
下面关于 Redis 的文章您也可能喜欢,不妨参考下:
Ubuntu 14.04 下 Redis 安装及简单测试 http://www.linuxidc.com/Linux/2014-05/101544.htm
Redis 主从复制基本配置 http://www.linuxidc.com/Linux/2015-03/115610.htm
Redis 集群搭建与简单使用 http://www.linuxidc.com/Linux/2017-03/142210.htm
CentOS 7 下 Redis 的安装与配置 http://www.linuxidc.com/Linux/2017-02/140363.htm
Ubuntu 14.04 安装 Redis 与简单配置 http://www.linuxidc.com/Linux/2017-01/139075.htm
Ubuntu 16.04 环境中安装 PHP7.0 Redis 扩展 http://www.linuxidc.com/Linux/2016-09/135631.htm
Redis 单机 & 集群离线安装部署 http://www.linuxidc.com/Linux/2017-03/141403.htm
CentOS 7.0 安装 Redis 3.2.1 详细过程和使用常见问题 http://www.linuxidc.com/Linux/2016-09/135071.htm
Ubuntu 16.04 环境中安装 PHP7.0 Redis 扩展 http://www.linuxidc.com/Linux/2016-09/135631.htm
Ubuntu 15.10 下 Redis 集群部署文档 http://www.linuxidc.com/Linux/2016-06/132340.htm
Redis 实战 中文 PDF http://www.linuxidc.com/Linux/2016-04/129932.htm
Redis 热迁移实战总结 http://www.linuxidc.com/Linux/2017-02/141083.htm
Redis3.0 配置文件详解 http://www.linuxidc.com/Linux/2017-03/141369.htm
本文永久更新链接地址:http://www.linuxidc.com/Linux/2017-12/149436.htm






